产品中心
PRODUCT CENTER隔膜泵实物图
PUMP PHYSICAL电动隔膜泵是目前一种新型的泵类,特点是不需灌引水。由于在隔膜材质上取得了突破性的进展,自吸能力强,使其适合应用于石化、陶瓷、冶金等行业。
电动隔膜泵属于容积泵,其工作原理和气动隔膜泵工作原理基本一样,但是电动隔膜泵原理的区别在于动力转换不同。
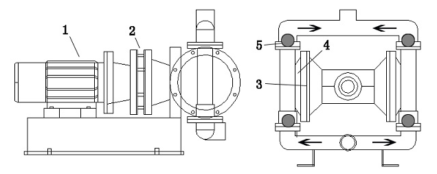
电动隔膜泵原理请参考下图:

相关产品推荐:隔膜泵配件
(1)通过减速机
(2)主轴带动偏心轮和大轴承做偏心旋转,泵体骨架连杆轴通过偏心轮和大轴承的驱动做往复动作。连杆轴左右两端上的隔膜片
(3)跟随做左右往复运动。在左右两个泵腔
(4)里各装有上下2套单项球阀
(5),隔膜片的左右运动使泵腔内的容积产生有规律的改变。迫使四个单项球阀交替的开启和关闭,从而将液体吸入和排出产生流体;这就是电动隔膜泵工作原理。KYD电动隔膜泵工作原理与常规DBY电动隔膜泵不同的是采用骨架连杆轴作为往复轴;动力输出轴为整根长轴;长轴采用双轴承运行;偏心轮为单独运行设计;保证了电动隔膜泵的动力稳定和高转速安全运行。
电动隔膜泵和气动隔膜泵工作原理的区别在于其动力源不同,电动隔膜泵动力由电机给予,所以相比之下运行更加稳定。即使加装无G调速或者变频调速,电动隔膜泵工作原理的往复冲程切换也是随着偏心轮的匀速转动自然切换;这一点是气动隔膜泵所不能达到的。
KYD系列电动隔膜泵工作原理采用双轴承和整轴运行的设计;一方面保证了整机工作的平衡,也解决了传统电动隔膜泵偏心轮(短轴加工而成的伪偏心轮)易断的问题。整轴运行即从电机输出的动力由减速机的一根整体长轴,通过偏心轮和轴承驱动泵体;双轴承即减速机的一根长轴有两个轴承保证整机的平稳。
DBY系列电动隔膜泵的主要特点是不需灌引水,直径在10毫米以下的颗粒、泥浆等均可以毫不费力地通过;泵体介质流经部份,可根据用户要求,分为铸铁、不锈钢、衬胶;DBY电动隔膜泵可用于各种橡胶浆乳胶、有机溶剂、填料。各种特殊介质的吸送。以免瞬间流量过大使压力下降太快引起联锁跳车。
宝贝不错,不锈钢DBY电动隔膜泵抗腐蚀,无噪音,设计合理,做工精细,很喜欢,值。
收到货了,物流很快包装完好,商J细心又用心。顺便还给我讲解了隔膜泵的工作原理和使用方法。
厂家建议把气动隔膜泵材质改成316材质的,现在比之前耐用的多了。
不错,买了四批都是不同的店J买的,这次的气动隔膜泵Z让我满意了,外观好,没任何的破损,资料顺丰快递寄给我,老板说重要的资料寄顺丰,怕丢,让我没后顾之忧。
QBK系列气动隔膜泵很好用,噪音比我用下岗的那个小很多,还比我原来那个省电
电动隔膜泵不错,使用起来不错
隔膜泵质量非常好,与卖家描述的一-致!
DBY不锈钢电动隔膜泵压力还特别大 还非常好安装 客服服务态度非常好