产品中心
PRODUCT CENTER隔膜泵实物图
PUMP PHYSICALQBY气动隔膜泵结构图是什么样的呢?那它的特点又是什么?又有哪些呢?下面跟着上海沈泉一起来看看吧!
QBY型气动隔膜泵已形成化生产,产品质量深受好评。这种泵的主要特点是不需灌引水,既能抽送流动的液体,又能输送一些是易流动的介质,吸程高、扬程可调(0-50米)气源压力只须大于1kg/cm2即能工作,JD防火防爆,具有潜水泵、自吸泵、杂质泵、屏蔽泵、泥浆泵的一切功能和输送机械的许多特点。

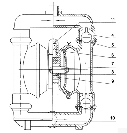
气动隔膜泵结构图
结构简介:1 进气口 2 配气阀体 3 配气阀 4 圆球 5 球座 6 隔膜 7 连杆 8 连杆铜套 9 中间支架 10 泵进口 11 排气口
(1)泵不会过热:压缩空气作动力,在排气时是一个膨胀吸热的过程,气动泵工作时温度是降低的,无有害气体排出。
(2)不会产生电火花:气动隔膜泵不用电力作动力,接地后又防止了静电火花。
(3)可以通过含颗粒液体:因为容积式工作且进口为球阀,所以不容易被堵。
(4)对物料的剪切力G低:工作时是怎么吸进怎么吐出,所以对物料的搅动Z小,适用于不稳定物质的输送。
(5)流量可调节,可以在物料出口处加装节流阀来调节流量。
(6)具有自吸的功能。
(7)可以空运行,而不会有危险。
(8)可以潜水工作。
(9)可以输送的流体G为广泛,从低粘度的到高粘度的,从腐蚀性得到粘稠的。
(10)没有复杂的控制系统,没有电缆、保险丝等。
(11)体积小、重量轻,便于移动。
(12)无需润滑所以维修简便,不会由于滴漏污染工作环境。
(13)泵始终能保持高效,不会因为磨损而降低。
(14)充分的能量利用,当关闭出口,泵自动停机,设备移动、磨损、过载、发热。
(15)没有动密封,维修简便避免了泄漏。工作时无死点。
隔膜泵刚刚试用了一下,很好用 服务很好有不懂的地方,客服都一一解答
挺好用的,厂家的隔膜泵产品质量挺好的,价格也很合理。
还可以吧,因为是DY次来沈泉购买隔膜泵,所以暂时不好评价。
厂家售后服务非常好,大家值得在这里买。
厂家服务态度很好...遇到问题马上帮忙解决了, 不错。
气动泵收到了,质量很好,用着不错,以后会多介绍朋友来沈泉购买的。